【Java黄冈旅游景点服务网站】(免费领源码+演示录像)|可做计算机毕设Java、Python、PHP、小程序APP、C#、爬虫大数据、单片机、文案
黄冈旅游景点服务网站主要功能模块包括景点新闻、新闻分类、购物管理、当地特产、分类列表、订单列表、景点信息、景点酒店、酒店订单、旅游攻略
SSM黄冈旅游景点服务网站
摘 要
信息化社会内需要与之针对性的信息获取途径,但是途径的扩展基本上为人们所努力的方向,由于站在的角度存在偏差,人们经常能够获得不同类型信息,这也是技术最为难以攻克的课题。针对旅游服务等问题,对旅游服务进行研究分析,然后开发设计出黄冈旅游景点服务网站已解决问题。
黄冈旅游景点服务网站主要功能模块包括景点新闻、新闻分类、购物管理、当地特产、分类列表、订单列表、、景点信息、景点酒店、酒店订单、旅游攻略,采取面对对象的开发模式进行软件的开发和硬体的架设,能很好的满足实际使用的需求,完善了对应的软体架设以及程序编码的工作,采取Mysql作为后台数据的主要存储单元,采用SSM框架、Java技术、Ajax技术进行业务系统的编码及其开发,实现了本系统的全部功能。本次报告,首先分析了研究的背景、作用、意义,为研究工作的合理性打下了基础。针对黄冈旅游景点服务网站的各项需求以及技术问题进行分析,证明了系统的必要性和技术可行性,然后对设计系统需要使用的技术软件以及设计思想做了基本的介绍,最后来实现黄冈旅游景点服务网站和部署运行使用它。
关键词:旅游服务;ssm框架;Mysql数据库
SSM Huanggang Tourist Attraction Service Website
Abstract
Targeted information access is needed in the information society, but the expansion of the access is basically the direction that people strive for. Due to the deviation of the perspective, people can often obtain different types of information, which is also the most difficult topic for technology to overcome. Aiming at the problems of tourism service, this paper studies and analyzes the tourism service, and then develops and designs the Huanggang tourist attraction service website to solve the problems.
The main functional modules of Huanggang Tourist Attraction Service Website include scenic spot news, news classification, shopping management, local specialties, classification list, order list, scenic spot information, scenic spot hotels, hotel orders, and tourism strategies. The object-oriented development model is adopted for software development and hardware erection, which can well meet the needs of actual use, and improve the corresponding software erection and program coding, MySQL is used as the main storage unit of background data, SSM framework, Java technology and Ajax technology are used to code and develop the business system, and all functions of the system are realized. This report first analyzes the background, role and significance of the research, laying a foundation for the rationality of the research work. This paper analyzes the needs and technical problems of Huanggang tourist attraction service website, proves the necessity and technical feasibility of the system, and then introduces the technical software and design ideas that the system needs to use. Finally, it implements the Huanggang tourist attraction service website and deploys and uses it.
Key words: tourism service; Ssm framework; MySQL database
目 录
第1章绪论
1.1研究背景与意义
目前旅游业的信息量非常大,旅游系统在正常运营中需要处理大量信息。因此需要对旅游相关信息进行管理,及时了解各种信息的变更,针对变更及时做出调整,来提高管理效率和资源利用率。而现有的旅游景点服务网站及时性差,各旅游相关信息不全,可扩充性差。
提高旅游景点服务网站的及时性、可扩充性,保证系统能够长期、安全、稳定、可靠、高效的运行。实现旅游信息管理工作的规范化、系统化、自动化,提高管理信息的效率、资源利用率、利润的最大化,减轻旅游工作人员的工作负担。所以,开发一个功能更加完善、更坚强大的系统是非常有必要的。
1.2开发现状
随着经济水平的提高,国内的旅游业发展快速,但是相对来说,国内旅游业发展的程度并不能完全适应经济的发展和人民生活水平提高的需要。因此国内旅游业在国民经济中的地位和作用凸显重要。
但国内旅游产业管理滞后,基础弱,企业效益差,信息化较低。旅游行政管理部门的管理方式些许落后,缺少信息化管理,信息沟通渠道不顺畅等一系列问题。面对挑战和挫折,国内旅游产业必须转变旧观念,勇于创新,打破传统理念,提供各种资源,这样一来使整个行业有了崭新的一幕。同时要加强旅游信息化的建设,不断提高各级管理部门的管理能力和工作效率,简化办事的程序,减少工作的成本,加快信息的传播速度,多做宣传,提高信息的真实性;另一方面通过开展旅游产业来满足游客的需求,提升旅游的服务质量,缩减成本,转变旅游企业传统经营模式,这样做的话不仅提高整个旅游产业的素质,而且提升旅游产业的信息化,优化产业的结构和资源。进而带动许多产业的发展,提高就业机率,对经济的发展有着积极的推动作用。
至今为止,游客们是国内旅游行业最主要的客户,国内的一些旅游部门还在完善信息化方面的内容与工作,在这种背景下这些部门会通过建立旅游景点服务网站来宣传当地的风土人情,这样才可以与其他行业有一定的竞争能力。
1.3研究方法
首先,通过引擎搜索或者查阅相关文献资料,了解了本系统开发的背景以及设计系统的意义所在,收集用户需求信息。其次,在开发工具上,最终确定选用Java平台来设计开发本系统,Mysql作为设计数据库的工具。即利用Java语言实现用户界面,并同数据库连接起来实现完整的通信功能。之后,设计出系统大致的功能模块。主要从方便系统用户和系统管理员的角度进行分析,明确该系统应该具有的功能。最终是测试系统,通过用例测试发现存在的问题并找到解决的方案。利用现有的开发平台,结合自己所学的知识,在老师的指导帮助下来完成该设计,确保系统的可用性、实用性。
第2章相关技术介绍
2.1开发技术说明
本系统前端部分基于MVVM模式进行开发,采用B/S模式,后端部分基于Java的ssm框架进行开发。
前端部分:前端框架采用了比较流行的渐进式JavaScript框架Vue.js。使用Vue-Router和Vuex实现动态路由和全局状态管理,Ajax实现前后端通信,Element UI组件库使页面快速成型,项目前端通过栅格布局实现响应式,可适应PC端、平板端、手机端等不同屏幕大小尺寸的完美布局展示。
后端部分:采用ssm作为开发框架,同时集成MyBatis、Redis等相关技术。
2.2Java语言与JDK开发环境
Java是美国sun公司所推出的一款程序设计语言,其能够在多个平台内应用,具有良好兼容性,进而其凭借自身优势在数据中心、个人PC与科技超级计算机等平台内广泛应用,具有目前最为庞大的开发者专业社群[3]。
JDK为美国sun公司为java开发员所推出的一款全新产品,要是没有JDK的情况下,所安装的java程序也就无法运行[4]。
2.3B/S体系工作原理
B/S架构采取浏览器请求,服务器响应的工作模式。
用户可以通过浏览器去访问Internet上由Web服务器产生的文本、数据、图片、动画、视频点播和声音等信息;
而每一个Web服务器又可以通过各种方式与数据库服务器连接,大量的数据实际存放在数据库服务器中;
从Web服务器上下载程序到本地来执行,在下载过程中若遇到与数据库有关的指令,由Web服务器交给数据库服务器来解释执行,并返回给Web服务器,Web服务器又返回给用户。在这种结构中,将许许多多的网连接到一块,形成一个巨大的网,即全球网。而各个企业可以在此结构的基础上建立自己的Internet。
在 B/S 模式中,用户是通过浏览器针对许多分布于网络上的服务器进行请求访问的,浏览器的请求通过服务器进行处理,并将处理结果以及相应的信息返回给浏览器,其他的数据加工、请求全部都是由Web Server完成的。通过该框架结构以及植入于操作系统内部的浏览器,该结构已经成为了当今软件应用的主流结构模式。
2.4MVVM模式介绍
MVVM是Model-View-ViewModel的简写。它本质上就是MVC 的改进版。MVVM 就是将其中的View 的状态和行为抽象化,让我们将视图 UI 和业务逻辑分开。当然这些事 ViewModel 已经帮我们做了,它可以取出 Model 的数据同时帮忙处理 View 中由于需要展示内容而涉及的业务逻辑。微软的WPF带来了新的技术体验,如Silverlight、音频、视频、3D、动画……,这导致了软件UI层更加细节化、可定制化。同时,在技术层面,WPF也带来了 诸如Binding、Dependency Property、Routed Events、Command、DataTemplate、ControlTemplate等新特性。MVVM(Model-View-ViewModel)框架的由来便是MVP(Model-View-Presenter)模式与WPF结合的应用方式时发展演变过来的一种新型架构框架。它立足于原有MVP框架并且把WPF的新特性糅合进去,以应对客户日益复杂的需求变化。
2.5Mysql数据库
Mysql 经过多次的更新,功能层面已经非常的丰富和完善了,从Mysql4版本到5版本进行了比较大的更新,在商业的实际使用中取得了很好的实际应用效果。最新版本的Mysql支持对信息的压缩,同时还能进行加密能更好的满足对信息安全性的需求。同时经过系统的多次更新,数据库自身的镜像功能也得到了很大的增强,运行的流畅度和易用性方面有了不小的进步,驱动的使用和创建也更加的高效快捷。最大的变动还是进行了空间信息的显示优化,能更加方便的在应用地图上进行坐标的标注和运算。强大的备份功能也保证了用户使用的过程会更加安心,同时支持的Office特性还支持用户的自行安装和使用。在信息的显示形式上也进行了不小的更新,增加了两个非常使用的显示区,一个是信息区,对表格和文字进行了分类处理,界面的显示更加清爽和具体。第二是仪表的信息控件,能在仪表信息区进行信息的显示,同时还能进行多个信息的比对,为用户的实际使用带来了很大的便捷[7][8]。
针对本文中设计的新闻管理系统在实际的实现过程中,最终选择Mysql数据库的主要原因在于在企业的应用系统应用及开发的过程中会存在大量的数据库比较频繁的操作,而且数据的安全性要求也是非常的高。综合这些因素,最终选择安全性系数比较高的Mysql来对新闻管理系统后台数据进行存储操作[9][10]。
第3章系统分析
3.1可行性分析
技术性方面,采用当前主流的SSM框架进行系统主体框架的搭建,前台使用比较流行的渐进式JavaScript框架Vue.js,实现前台页面的设计与美观调整,以上技术,均由本人经过系统学习,并且都是在课程设计中实践过的,可以使得开发更加便捷和系统。从技术角度看,这个系统是完全可以实现的。
实用性方面,本次设计的主要任务是在黄冈旅游景点服务网站内景点新闻、新闻分类、购物管理、当地特产、分类列表、订单列表、、景点信息、景点酒店、酒店订单、旅游攻略等,符合当前潮流的发展。从用户角度出发,同时也考虑系统运营成本和人力资源,采用网络上的便捷方式,实现线上业务,使得业务流程更系统,也更方便用户的体验,比较实用。
经济性方面,由于本课题中设计的黄冈旅游景点服务网站的主要目的是为了能够更加方便及快捷的进行信息的查询管理及检索服务,也就是能够可以直接投入使用的信息化软件。系统的主要成本主要是集中在对使用数据后期继续维护及其管理更新这个操作上。但是一旦系统投入到实际的运行及使用之后就能够很好的提高信息查询检索的效率,同时也需要有效的保证查询者的信息方面的安全性,同时这个黄冈旅游景点服务网站所带来的实际应用方面的价值是远远的超过了实际系统进行开发与维护方面的成本,因此,从经济上来说开发这个软件是可行的。
3.2功能需求分析
黄冈旅游景点服务网站的功能主要分为前台用户根据自己的需求进行注册登录,浏览酒店信息并对选中的酒店进行预定操作。管理员主要对注册用户,资讯数据,景点详细信息,酒店详细信息,酒店订单进行处理。
系统用例图如下所示。

图3-1 系统用例图
3.2.1前台用户功能
前台用户可分为未注册用户需求和已注册用户需求。
未注册用户的功能如下:
注册账号:用户填写个人信息,并验证手机号码。
浏览资讯数据:用户可以浏览主页面的资讯数据来了解系统的最新资讯数据。
浏览景点:用户可以根据景点类型浏览景点的信息,并选中某个景点查看详情,例如:景点名称、景点类型、联系电话、票价、地址、星级、开放时间、照片等。
浏览酒店:用户可以根据酒店类型浏览酒店的信息,并选中某个酒店查看详情,例如:酒店名称、图片、地址、联系电话、房型、价格等。
浏览评论信息:选中某个景点可查看其用户的评论。
已注册用户的功能如下:
登录:根据账号密码进行登录操作。
维护个人信息:用户因个人信息的变更可以随时修改自己注册信息。
评论:用户可以根据自己的观点看法对相关景点进行评论。
酒店预订:用户根据自己的需求选中某个酒店进行预订操作。
个人酒店预订历史记录:用户可以查看自己以往预订数据。
3.2.2后台管理员功能
管理员功能如下:
修改密码:管理员可以随时修改自己进入系统的登录密码,以保证系统的安全性。
对景点购票单信息进行处理:办理购票单审核等。
管理普通管理员:对普通管理员进行管理。调动相关工作人员时可以添加或删除普通管理员。
景点信息管理:对景点信息进行维护,添加、删除、修改信息。
酒店信息管理:对酒店信息进行维护,添加、删除、修改信息。
对酒店预订单信息进行处理:办理预订单审核等。
资讯数据信息管理:发布、删除相关的资讯数据信息。
评论信息管理:可以查看用户的评论,及时了解用户发起的建议。
3.3非功能需求分析
首先主要考虑的是系统功能软件,在具体设计的环节上,是不是能够较好的满足各类用户的基本功能需求,如果不能较好的满足用户需求,那么这个系统的存在是没有价值的。软件系统的非功能性求分析,从7个方面展开,一个是性能分析,针对系统;一个是安全分析,针对系统,一个是完整度分析,针对系统,一个是可维护分析,针对系统,一个是可扩展性分析,针对系统,一个是适应业务的性能分析。面对黄冈旅游景点服务网站存在的性能、安全、扩展、完整度等7个方面性能综合比对分析后发现,需要相应的非功能性需求分析。
3.4安全性需求分析
3.4.1系统的安全性
安全性对每一个系统来说都是非常重要的。安全性很好的系统可以保护企业的信息和用户的信息不被窃取。提高系统的安全性不仅是对用户的负责,更是对企业的负责。尤其针对于黄冈旅游景点服务网站来说,必须要有很好的安全性来保障整个系统。
系统具有对使用者有权限控制,针对角色的不通限制使用者的权限,以此来确保系统的安全性。
3.4.2数据的安全性
数据库中的数据是从外界输入的,当数据的输入时,由于种种原因,输入的数据会无效,或者是脏数据。因此,怎样保证输入的数据符合规定,成为了数据库系统,尤其是多用户的关系数据库系统首要关注的问题。
因此,在写入数据库时,要保证数据完整性、正确性和一致性。
3.5数据流程分析
对系统的数据流进行分析,系统的使用者分为二类,一般用户,管理员。系统主要对界面信息传送,登录信息的验证,注册信息的接收,用户各种操作的响应做处理。
系统顶层数据流图如下图所示。

图3-2 顶层数据流图
要判断用户是是什么身份,是根据登录的数据来判断后,跳转到对应的功能界面。在系统的内部用户就可以对数据进行操作,数据库中心就可以接收到系统传输的有效数据流来对数据sql语句进行对应操作。
系统底层数据流图如下图所示。

图3-3 底层数据流图
系统可以分为前台和后台两部分,每一种操作后系统都返回操作结果。前台和后台的数据连接主要通过数据库,既分别对数据库做不同的操作。
第4章系统设计
4.1系统架构设计
本黄冈旅游景点服务网站的架构设计主要分为可以3层,主要有Web层,业务层,Model层。其中web层还包括View层和Controller层,Model层包括元数据扩展层和数据访问层。
系统架构如下图所示。

图4-1 系统架构
4.2系统总体设计
黄冈旅游景点服务网站总体分为前台用户模块和后台管理员模块。
两个模块表现上是分别独立存在,但是访问的数据库是一样的。每一个模块的功能都是根据先前完成的需求分析,并查阅相关资料后整理制作的。
综上所述,系统功能结构图如下图所示。

图4-2 系统功能结构图
4.3系统功能设计
登录模块:登录模块是进入系统的入口,所有用户必须登录后才能访问系统。登录需要输入用户名和密码,如果多次尝试登录需要输入验证码。登录时需要选择用户的角色,是一般用户还是管理员登录等。登录成功后,会通过数据库获取用户的权限,并跳转至用户的主页面。
订单模块:订单模块促进用户对商品进行购买,查看某个商品详情。
资讯数据模块:可分为资讯数据浏览、资讯数据检索、资讯数据维护三个模块,管理员对资讯数据有维护的权限,发布新的资讯数据、更新已有的资讯数据等。
景点管理模块:景点管理分为景点添加、修改和景点购票。景点信息由管理员进行修改、添加、删除操作;景点购票由普通用户来执行。
酒店管理模块:酒店管理分为酒店添加、修改和酒店预订。酒店信息由管理员进行修改、添加、删除操作;酒店预订由普通用户来执行。
4.4数据库设计
4.4.1数据需求分析
从前面可以分析到数据库中最重要的是景点信息,用户信息,购物信息,同时存在酒店信息和预订信息。分析可以得到如下数据描述:
平台用户:用于记录用户的各种信息,包括用户名、密码、基本情况信息,信誉、发布信息数等数据项。
管理员:记录管理员的登录信息。包括用户名,密码,权限等数据项。
景点:存放给景点的内容,包括景点名称、景点类型、联系电话、票价、地址、星级、开放时间、照片等数据项。
酒店:存储各种酒店信息。包括酒店名称、图片、地址、联系电话、房型、价格等数据项。
当地特产:存储商品的分类、价格、详情、购买数量、总价格、联系电话、购买人、是否支付等数据项。
酒店预订。存储用户的酒店预订信息。包括酒店预订的订单号、酒店编号、酒店名称、房型、价格、预订天数、总价格、入住时间、联系电话、预订人、是否支付等数据项。
资讯数据:存储平台内的资讯数据内容。包括标题,资讯数据内容,时间等数据项。
4.4.2数据库概念设计
根据前面的数据流程图,结合系统的功能模块设计,设计出符合系统的各信息实体。
系统ER图如下图所示。

图4-3 系统ER图
4.4.3数据库表设计
黄冈旅游景点服务网站所拥有的数据表有以下:由于数据表较多,只展示系统主要数据表,如下表所示。
|
hotel_orders |
|||||
|
字段名称 |
类型 |
长度 |
不是null |
主键 |
字段说明 |
|
hotel_orders_id |
int |
11 |
是 |
主键 |
酒店订单ID |
|
user_name |
int |
11 |
否 |
用户姓名 |
|
|
hotel_name |
varchar |
64 |
否 |
酒店名称 |
|
|
hotel_information |
varchar |
64 |
否 |
酒店信息 |
|
|
hotel_star |
varchar |
64 |
否 |
酒店星级 |
|
|
number_of_rooms_reserved |
int |
11 |
否 |
预订房间数量 |
|
|
check_in_time |
date |
0 |
否 |
入住时间 |
|
|
check_out |
date |
0 |
否 |
退房日期 |
|
|
remarks |
varchar |
64 |
否 |
备注 |
|
|
recommend |
int |
11 |
是 |
智能推荐 |
|
|
create_time |
datetime |
0 |
是 |
创建时间 |
|
|
update_time |
timestamp |
0 |
是 |
更新时间 |
|
|
local_specialities |
|||||
|
字段名称 |
类型 |
长度 |
不是null |
主键 |
字段说明 |
|
local_specialities_id |
int |
11 |
是 |
主键 |
当地特产ID |
|
commodity_specifications |
varchar |
64 |
否 |
商品规格 |
|
|
recommend |
int |
11 |
是 |
智能推荐 |
|
|
cart_title |
varchar |
125 |
否 |
标题 |
|
|
cart_img |
text |
0 |
否 |
封面图 |
|
|
cart_description |
varchar |
255 |
否 |
描述 |
|
|
cart_price_ago |
double |
8 |
是 |
原价 |
|
|
cart_price |
double |
8 |
是 |
卖价 |
|
|
cart_inventory |
int |
11 |
是 |
商品库存 |
|
|
cart_type |
varchar |
64 |
是 |
商品分类 |
|
|
cart_content |
longtext |
0 |
否 |
正文产品的主体内容 |
|
|
cart_img_1 |
text |
0 |
否 |
主图1 |
|
|
cart_img_2 |
text |
0 |
否 |
主图2 |
|
|
cart_img_3 |
text |
0 |
否 |
主图3 |
|
|
cart_img_4 |
text |
0 |
否 |
主图4 |
|
|
cart_img_5 |
text |
0 |
否 |
主图5 |
|
|
create_time |
datetime |
0 |
是 |
创建时间 |
|
|
update_time |
timestamp |
0 |
是 |
更新时间 |
|
|
logistics_information |
|||||
|
字段名称 |
类型 |
长度 |
不是null |
主键 |
字段说明 |
|
logistics_information_id |
int |
11 |
是 |
主键 |
物流信息ID |
|
consignee |
int |
11 |
否 |
收货人 |
|
|
courier_services_company |
varchar |
64 |
否 |
快递公司 |
|
|
order_no |
varchar |
64 |
否 |
订单编号 |
|
|
order_status |
varchar |
64 |
否 |
物流状态 |
|
|
contact_number |
varchar |
64 |
否 |
联系电话 |
|
|
ship_to_address |
varchar |
64 |
否 |
收货地址 |
|
|
courier_number |
varchar |
64 |
否 |
快递单号 |
|
|
recommend |
int |
11 |
是 |
智能推荐 |
|
|
create_time |
datetime |
0 |
是 |
创建时间 |
|
|
update_time |
timestamp |
0 |
是 |
更新时间 |
|
|
order |
|||||
|
字段名称 |
类型 |
长度 |
不是null |
主键 |
字段说明 |
|
order_id |
int |
11 |
是 |
主键 |
订单ID |
|
order_number |
varchar |
64 |
否 |
订单号 |
|
|
goods_id |
mediumint |
8 |
是 |
商品id |
|
|
title |
varchar |
32 |
否 |
商品标题 |
|
|
img |
varchar |
255 |
否 |
商品图片 |
|
|
price |
double |
10 |
是 |
价格 |
|
|
price_ago |
double |
10 |
是 |
原价 |
|
|
num |
int |
8 |
是 |
数量 |
|
|
price_count |
double |
8 |
是 |
总价 |
|
|
norms |
varchar |
255 |
否 |
规格 |
|
|
type |
varchar |
64 |
是 |
商品分类 |
|
|
contact_name |
varchar |
32 |
否 |
联系人姓名 |
|
|
contact_email |
varchar |
125 |
否 |
联系人邮箱 |
|
|
contact_phone |
varchar |
11 |
否 |
联系人手机 |
|
|
contact_address |
varchar |
255 |
否 |
收件地址 |
|
|
postal_code |
varchar |
9 |
否 |
邮政编码 |
|
|
user_id |
int |
10 |
是 |
买家ID |
|
|
merchant_id |
mediumint |
8 |
是 |
商家ID |
|
|
create_time |
timestamp |
0 |
是 |
创建时间 |
|
|
update_time |
timestamp |
0 |
是 |
更新时间 |
|
|
description |
varchar |
255 |
否 |
描述 |
|
|
state |
varchar |
16 |
是 |
订单状态 |
|
|
ordinary_users |
|||||
|
字段名称 |
类型 |
长度 |
不是null |
主键 |
字段说明 |
|
ordinary_users_id |
int |
11 |
是 |
主键 |
普通用户ID |
|
user_name |
varchar |
64 |
否 |
用户姓名 |
|
|
user_gender |
varchar |
64 |
否 |
用户性别 |
|
|
user_age |
int |
11 |
否 |
用户年龄 |
|
|
examine_state |
varchar |
16 |
是 |
审核状态 |
|
|
recommend |
int |
11 |
是 |
智能推荐 |
|
|
user_id |
int |
11 |
是 |
用户ID |
|
|
create_time |
datetime |
0 |
是 |
创建时间 |
|
|
update_time |
timestamp |
0 |
是 |
更新时间 |
|
|
scenic_hotel |
|||||
|
字段名称 |
类型 |
长度 |
不是null |
主键 |
字段说明 |
|
scenic_hotel_id |
int |
11 |
是 |
主键 |
景点酒店ID |
|
hotel_name |
varchar |
64 |
否 |
酒店名称 |
|
|
hotel_pictures |
varchar |
255 |
否 |
酒店图片 |
|
|
hotel_information |
varchar |
64 |
否 |
酒店信息 |
|
|
hotel_star |
varchar |
64 |
否 |
酒店星级 |
|
|
number_of_remaining_rooms |
int |
11 |
否 |
剩余房间数量 |
|
|
hotel_features |
varchar |
64 |
否 |
酒店特色 |
|
|
hotel_introduction |
text |
0 |
否 |
酒店介绍 |
|
|
hits |
int |
11 |
是 |
点击数 |
|
|
praise_len |
int |
11 |
是 |
点赞数 |
|
|
recommend |
int |
11 |
是 |
智能推荐 |
|
|
create_time |
datetime |
0 |
是 |
创建时间 |
|
|
update_time |
timestamp |
0 |
是 |
更新时间 |
|
|
scenic_spot_information |
|||||
|
字段名称 |
类型 |
长度 |
不是null |
主键 |
字段说明 |
|
scenic_spot_information_id |
int |
11 |
是 |
主键 |
景点信息ID |
|
name_of_scenic_spot |
varchar |
64 |
否 |
景点名称 |
|
|
pictures_of_scenic_spots |
varchar |
255 |
否 |
景点图片 |
|
|
scenic_spot_information |
varchar |
64 |
否 |
景点信息 |
|
|
scenic_spot_features |
varchar |
64 |
否 |
景点特色 |
|
|
ticket_price |
varchar |
64 |
否 |
门票价钱 |
|
|
location_of_scenic_spots |
varchar |
64 |
否 |
景点位置 |
|
|
attraction_details |
text |
0 |
否 |
景点详情 |
|
|
hits |
int |
11 |
是 |
点击数 |
|
|
praise_len |
int |
11 |
是 |
点赞数 |
|
|
recommend |
int |
11 |
是 |
智能推荐 |
|
|
create_time |
datetime |
0 |
是 |
创建时间 |
|
|
update_time |
timestamp |
0 |
是 |
更新时间 |
|
|
tourism_strategy |
|||||
|
字段名称 |
类型 |
长度 |
不是null |
主键 |
字段说明 |
|
tourism_strategy_id |
int |
11 |
是 |
主键 |
旅游攻略ID |
|
name_of_scenic_spot |
varchar |
64 |
否 |
景点名称 |
|
|
pictures_of_scenic_spots |
varchar |
255 |
否 |
景点图片 |
|
|
scenic_spot_features |
varchar |
64 |
否 |
景点特色 |
|
|
strategy_information |
varchar |
64 |
否 |
攻略信息 |
|
|
publish_user |
int |
11 |
否 |
发布用户 |
|
|
user_name |
varchar |
64 |
否 |
用户姓名 |
|
|
release_date |
date |
0 |
否 |
发布日期 |
|
|
introduction_details |
text |
0 |
否 |
攻略详情 |
|
|
hits |
int |
11 |
是 |
点击数 |
|
|
praise_len |
int |
11 |
是 |
点赞数 |
|
|
examine_state |
varchar |
16 |
是 |
审核状态 |
|
|
examine_reply |
varchar |
16 |
否 |
审核回复 |
|
|
recommend |
int |
11 |
是 |
智能推荐 |
|
|
create_time |
datetime |
0 |
是 |
创建时间 |
|
|
update_time |
timestamp |
0 |
是 |
更新时间 |
|
第5章系统实现
5.1数据库访问层的实现
该系统是通过jdbc和Mysql达成连接的,新建一个jdbc.properties文件来填写与数据库连接所需要的驱动和参数。
jdbc.driverClass=com.Mysql.jdbc.Driver
jdbc.url=jdbc:Mysql://localhost:3306/tsi
jdbc.username=root
jdbc.password=123
第一个参数代表Mysql数据库的驱动,第二个参数代表要连接的数据库,第三个和第四个参数代表数据库连接名和密码。
后台与数据库访问主要是通过HQL语句来进行查询的,查询语句中的表名是表格的实体类名,在这种查询语句中*是不允许使用的,除非适合聚合函数一起使用才可以。
5.2注册模块的实现
用户在填写数据的时候必须与注册页面上的验证相匹配否则会注册失败,注册页面的表单验证是通过JavaScript进行验证的,用户名的长度必须在6到18之间,邮箱必须带有@符号,密码和密码确认必须相同,你输入的密码,系统会根据你输入密码的强度给出指定的值,电话号码和身份证号码必须要求输入格式与生活相符合,当你前台验证通过的时候你点击注册,表单会将你输入的值通过name值传递给后台并保存到数据库中。
用户注册流程图如下图所示。

图5-1用户注册流程图
用户注册界面如下图所示。

图5-2用户注册界面
用户注册的关键代码如下。
* 注册
* @return
*/
@PostMapping("register")
public Map<String, Object> signUp(HttpServletRequest request) throws IOException {
// 查询用户
Map<String, String> query = new HashMap<>();
Map<String,Object> map = service.readBody(request.getReader());
query.put("username",String.valueOf(map.get("username")));
List list = service.selectBaseList(service.select(query, new HashMap<>()));
if (list.size()>0){
return error(30000, "用户已存在");
}
map.put("password",service.encryption(String.valueOf(map.get("password"))));
service.insert(map);
return success(1);
}
public Map<String,Object> readBody(BufferedReader reader){
BufferedReader br = null;
StringBuilder sb = new StringBuilder("");
try{
br = reader;
String str;
while ((str = br.readLine()) != null){
sb.append(str);
}
br.close();
String json = sb.toString();
return JSONObject.parseObject(json, Map.class);
}catch (IOException e){
e.printStackTrace();
}finally{
if (null != br){
try{
br.close();
}catch (IOException e){
e.printStackTrace();
}
}
}
return null;
}
public void insert(Map<String,Object> body){
E entity = JSON.parseObject(JSON.toJSONString(body),eClass);
baseMapper.insert(entity);
log.info("[{}] - 插入操作:{}",entity);
}
5.3登录模块的实现
主要由两部分组成,登录前的登录界面以及登录后的用户功能界面。登录界面,要求用户输入用户名和密码,当用户名和密码其中一个输入为空时,给出提示“用户名,密码不能为空”。获取用户名和密码后到数据库中查找,如果用户名存在,以及对应的密码正确,则登录成功,否则登录失败。登录失败后给出提示,并把焦点停在文本框中。登录成功后将该次会话的全局变量username设置为用户名。登录成功后进入会员的功能模块,主要有会员基本信息修改,已经发布景点信息管理,发布信息,和退出功能。退出功能是清除全局变量username的值,并跳回到首页。
登录流程图如下图所示。

图5-4登录流程图
用户登录界面如下图所示。

图5-5用户登录界面
用户登录的关键代码如下。
* 登录
* @param data
* @param httpServletRequest
* @return
*/
@PostMapping("login")
public Map<String, Object> login(@RequestBody Map<String, String> data, HttpServletRequest httpServletRequest) {
log.info("[执行登录接口]");
String username = data.get("username");
String email = data.get("email");
String phone = data.get("phone");
String password = data.get("password");
List resultList = null;
QueryWrapper wrapper = new QueryWrapper<User>();
Map<String, String> map = new HashMap<>();
if(username != null && "".equals(username) == false){
map.put("username", username);
resultList = service.selectBaseList(service.select(map, new HashMap<>()));
}
else if(email != null && "".equals(email) == false){
map.put("email", email);
resultList = service.selectBaseList(service.select(map, new HashMap<>()));
}
else if(phone != null && "".equals(phone) == false){
map.put("phone", phone);
resultList = service.selectBaseList(service.select(map, new HashMap<>()));
}else{
return error(30000, "账号或密码不能为空");
}
if (resultList == null || password == null) {
return error(30000, "账号或密码不能为空");
}
//判断是否有这个用户
if (resultList.size()<=0){
return error(30000,"用户不存在");
}
User byUsername = (User) resultList.get(0);
Map<String, String> groupMap = new HashMap<>();
groupMap.put("name",byUsername.getUserGroup());
List groupList = userGroupService.selectBaseList(userGroupService.select(groupMap, new HashMap<>()));
if (groupList.size()<1){
return error(30000,"用户组不存在");
}
UserGroup userGroup = (UserGroup) groupList.get(0);
//查询用户审核状态
if (!StringUtils.isEmpty(userGroup.getSourceTable())){
String res = service.selectExamineState(userGroup.getSourceTable(),byUsername.getUserId());
if (res==null){
return error(30000,"用户不存在");
}
if (!res.equals("已通过")){
return error(30000,"该用户审核未通过");
}
}
//查询用户状态
if (byUsername.getState()!=1){
return error(30000,"用户非可用状态,不能登录");
}
String md5password = service.encryption(password);
if (byUsername.getPassword().equals(md5password)) {
// 存储Token到数据库
AccessToken accessToken = new AccessToken();
accessToken.setToken(UUID.randomUUID().toString().replaceAll("-", ""));
accessToken.setUser_id(byUsername.getUserId());
tokenService.save(accessToken);
// 返回用户信息
JSONObject user = JSONObject.parseObject(JSONObject.toJSONString(byUsername));
user.put("token", accessToken.getToken());
JSONObject ret = new JSONObject();
ret.put("obj",user);
return success(ret);
} else {
return error(30000, "账号或密码不正确");
}
}
public String select(Map<String,String> query,Map<String,String> config){
StringBuffer sql = new StringBuffer("select ");
sql.append(config.get(FindConfig.FIELD) == null || "".equals(config.get(FindConfig.FIELD)) ? "*" : config.get(FindConfig.FIELD)).append(" ");
sql.append("from ").append("`").append(table).append("`").append(toWhereSql(query, "0".equals(config.get(FindConfig.LIKE))));
if (config.get(FindConfig.GROUP_BY) != null && !"".equals(config.get(FindConfig.GROUP_BY))){
sql.append("group by ").append(config.get(FindConfig.GROUP_BY)).append(" ");
}
if (config.get(FindConfig.ORDER_BY) != null && !"".equals(config.get(FindConfig.ORDER_BY))){
sql.append("order by ").append(config.get(FindConfig.ORDER_BY)).append(" ");
}
if (config.get(FindConfig.PAGE) != null && !"".equals(config.get(FindConfig.PAGE))){
int page = config.get(FindConfig.PAGE) != null && !"".equals(config.get(FindConfig.PAGE)) ? Integer.parseInt(config.get(FindConfig.PAGE)) : 1;
int limit = config.get(FindConfig.SIZE) != null && !"".equals(config.get(FindConfig.SIZE)) ? Integer.parseInt(config.get(FindConfig.SIZE)) : 10;
sql.append(" limit ").append( (page-1)*limit ).append(" , ").append(limit);
}
log.info("[{}] - 查询操作,sql: {}",table,sql);
return sql.toString();
}
public List selectBaseList(String select) {
List<Map<String,Object>> mapList = baseMapper.selectBaseList(select);
List<E> list = new ArrayList<>();
for (Map<String,Object> map:mapList) {
list.add(JSON.parseObject(JSON.toJSONString(map),eClass));
}
return list;
}
5.4用户资料修改模块的实现
用户登录/注册成功之后可以修改自己的基本信息。修改页面的表单中每一个input的name值都要与实体类中的参数相匹配,在用户点击修改页面的时候,如果改后用户名与数据库里面重复了,页面会提示该用户名已经存在了,否则通过Id来查询用户,并将用户的信息修改为表单提交的数据。
5.5资讯数据管理模块的实现
如果资讯数据的信息需要修改,管理员可以通过查询资讯数据的基本信息来查询资讯数据,查询资讯数据是通过ajax技术来进行查询的,需要传递资讯数据的标题、编号等参数然后在返回到该页面中,可以选中要修改或删除的那条信息,如果选中了超过一条数据,页面会挑一个窗口提醒只能选择一条数,如果没有选中数据会挑一个窗口题型必须选择一条数据。当选择确认修改的时候,后台会根据传过来的id到数据库查询,并将结果返回到修改页面中,可以在修改页面中修改刚刚选中的信息当点击确认的时候from表单会将修改的数据提交到后台并保存到数据库中,就是说如果提交的数据数据库中存在就修改,否则就保存。
资讯数据展示界面如下图所示。

图5-6资讯数据展示界面
资讯数据管理界面如下图所示。

图5-7资讯数据管理界面
资讯数据发布的关键代码如下。
Map<String, Object> map = new HashMap<>();
map.put("error", new HashMap<String, Object>(4) {{
put("code", code);
put("message", message);
}});
return map;
}
5.6预订酒店模块的实现
预订酒店功能整体流程:用户浏览酒店信息时,同时会显示酒店的状态,系统会在其显示详细信息的页面时便会判断酒店的状态,若酒店状态为可预订,则会显示预订的链接按钮。在用户点击预订按钮时,会先通过拦截器判断用户是否登录,若未登录,会跳转至登录页面,提示用户先登录,若为登录用户就会跳转至填写预订信息的页面,填写好预订信息之后,点击提交按钮,预订成功之后返回提示信息,告知用户预订成功。
预订酒店流程图如下图所示。

图5-8预订酒店流程图
预订酒店界面如下图所示。

图5-8预订酒店界面
预订管理界面如下图所示。

图5-9预订管理界面
预订添加关键代码如下。
@RequestMapping("/get_obj")
public Map<String, Object> obj(HttpServletRequest request) {
List resultList = service.selectBaseList(service.select(service.readQuery(request), service.readConfig(request)));
if (resultList.size() > 0) {
JSONObject jsonObject = new JSONObject();
jsonObject.put("obj",resultList.get(0));
return success(jsonObject);
} else {
return success(null);
}
}
5.7景点管理模块的实现
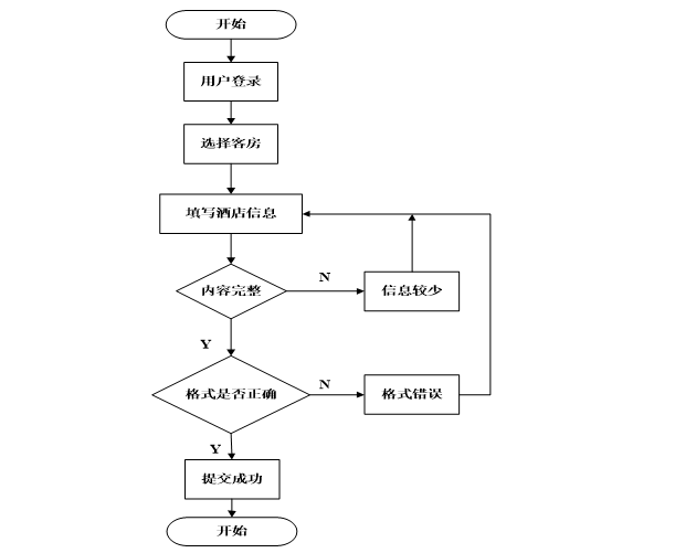
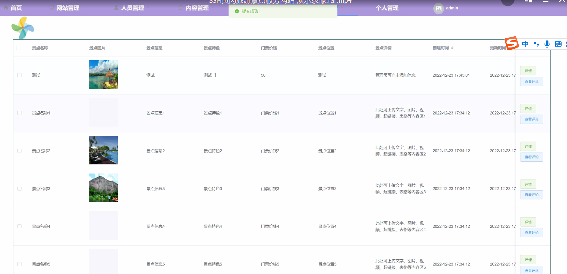
此页面的关键是编写景点信息,包括景点编号,名称,详情等。单击提交按钮以完成信息的添加。如果未写入完整的景点信息,例如,如果未写入景点编号,系统将给出相应的错误提示,并且无法成功输入。数据以概念的形式以onsubmit =“return checkForm()”的形式写入以进行检查,checkForm()函数是一种用于写入数据的不同类型的校对方法,是不是为空也是经过form表单中的onsubmit=”return checkForm()来检查。
管理员点击左侧菜单“景点信息管理”,页面跳转到景点信息管理外观,调用后台景点查询所有景点信息。并将信息密封到数据集合List,绑定到请求对象,然后页面跳转到相应的jsp,显示出景点信息,单击删除按钮完成景点信息的删除。
景点管理流程图如下图所示。

图5-10景点管理流程图
景点添加界面如下图所示。

图5-11景点添加界面
景点管理界面如下图所示。

图5-12景点管理界面
景点发布的关键代码如下。
@PostMapping("/add")
@Transactional
public Map<String, Object> add(HttpServletRequest request) throws IOException {
service.insert(service.readBody(request.getReader()));
return success(1);
}
@Transactional
public Map<String, Object> addMap(Map<String,Object> map){
service.insert(map);
return success(1);
}
%>
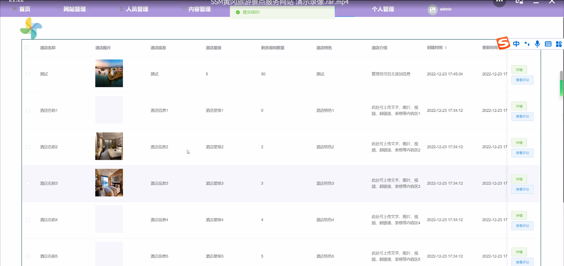
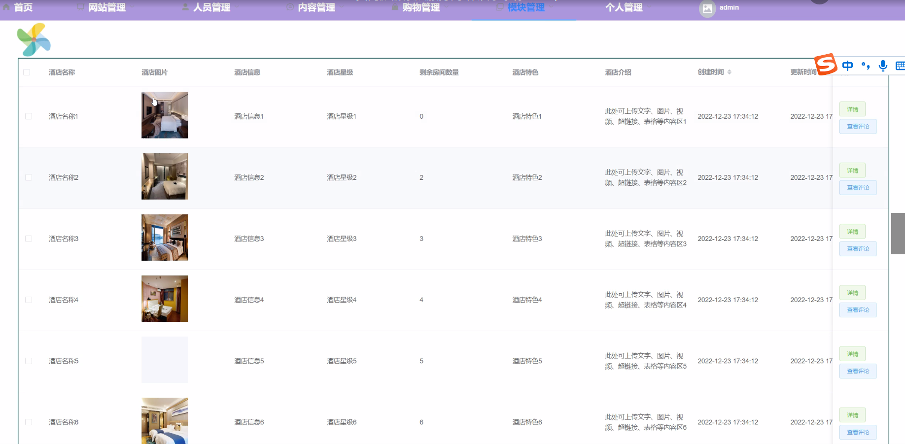
5.8酒店管理模块的实现
根据需求,需要对酒店进行添加、删除或修改详情信息。删除或修改酒店时,系统根据酒店的状态判定为可删除状态下,才会给出删除和修改链接,点击删除链接按钮时,请求到达后台,还会先查询酒店状态再次做出判定能否删除。点击修改链接按钮时,会跳转到修改信息的页面,重新填写好数据后,数据提交到后台会对数据库中相应的记录做出修改。
添加酒店时,会给出数据填写的页面,该页面根据填写好的酒店编号同样会事先发送Ajax请求查询编号是否已存在,数据填写好之后提交到后台,会调用相关服务在数据库中插入记录。
酒店管理流程图如下图所示。

图5-13酒店管理流程图
酒店添加页面设计效果如下图所示。

图5-14酒店添加界面
酒店管理页面效果如下图所示。

图5-15酒店管理界面
酒店发布的关键代码如下。
@RequestMapping(value = "/del")
@Transactional
public Map<String, Object> del(HttpServletRequest request) {
service.delete(service.readQuery(request), service.readConfig(request));
return success(1);
}
第6章系统测试
6.1测试目的
对任何系统而言,测试都是必不可少的环节,测试可以发现系统存在的很多问题,所有的软件上线之前,都应该进行充足的测试之后才能保证上线后不会Bug频发,或者是功能不满足需求等问题的发生。下面分别从单元测试,功能测试和用例测试来对系统进行测试以保证系统的稳定性和可靠性。
6.2功能测试
下表是景点管理功能的测试用例,检测了景点管理中对景点信息的增加,删除,修改,查询操作是否成功运行。观察系统的响应情况,得出该功能也达到了设计目标,系统运行正确。
前置条件;用户登录系统。
表6-1 景点管理的测试用例
|
功能描述 |
用于景点管理 |
|
|
测试目的 |
检测景点管理时的各种操作的运行情况 |
|
|
测试数据以及操作 |
预期结果 |
实际结果 |
|
点击添加景点,必填项合法输入,点击保存 |
提示添加成功 |
与预期结果一致 |
|
点击添加景点,必填项输入不合法,点击保存 |
提示必填项不能为空 |
与预期结果一致 |
|
点击修改景点,必填项修改为空,点击保存 |
提示必填项不能为空 |
与预期结果一致 |
|
点击修改景点,必填项输入不合法,点击保存 |
提示必填项不能为空 |
与预期结果一致 |
|
点击删除景点,选择景点删除 |
提示删除成功 |
与预期结果一致 |
|
点击搜索景点,输入存在的景点名 |
查找出景点 |
与预期结果一致 |
|
点击搜索景点,输入不存在的景点名 |
不显示景点 |
与预期结果一致 |
下表是酒店管理功能的测试用例,检测了酒店管理中对酒店信息的增加,删除,修改,查询操作是否成功运行。观察系统的响应情况,得出该功能也达到了设计目标,系统运行正确。
前置条件;用户登录系统。
表6-2 酒店管理的测试用例
|
功能描述 |
用于酒店管理 |
|
|
测试目的 |
检测酒店管理时的各种操作的运行情况 |
|
|
测试数据以及操作 |
预期结果 |
实际结果 |
|
点击添加酒店,必填项合法输入,点击保存 |
提示添加成功 |
与预期结果一致 |
|
点击添加酒店,必填项输入不合法,点击保存 |
提示必填项不能为空 |
与预期结果一致 |
|
点击修改酒店,必填项修改为空,点击保存 |
提示必填项不能为空 |
与预期结果一致 |
|
点击修改酒店,必填项输入不合法,点击保存 |
提示必填项不能为空 |
与预期结果一致 |
|
点击删除酒店,选择酒店删除 |
提示删除成功 |
与预期结果一致 |
|
点击搜索酒店,输入存在的酒店名 |
查找出酒店 |
与预期结果一致 |
|
点击搜索酒店,输入不存在的酒店名 |
不显示酒店 |
与预期结果一致 |
6.3性能测试
使用阿里云PTS(Performance Testing Service)性能测试服务对线上系统进行压力测试。线上服务器环境为:1核心CPU,1G内存,1Mbps公网带宽,Centos7.0操作系统。
压测过程中使用了2台并发机器,每台机器20个用户并发,对系统主页,登录,数据查询和数据维护等模块进行并发访问,测试结果是有40个用户并发时,数据管理相关页面的响应时间甚至达到了7s,通过查看服务器出网流量发现已经达到1381kb/s,可以看出服务器的带宽已经达到峰值,如果系统使用5Mbps的带宽,系统的响应时间和TPS将会大大增加。在整个测试的过程中,CPU的使用率占用仅8%,也提现出带宽瓶颈对系统的影响非常严重。
第7章总结与展望
随着计算机互联网技术的迅猛发展,各行各业都已经实现采用计算机相关技术对日益放大的数据进行管理。该课题是黄冈旅游景点服务网站为核心展开的,主要是为了实现旅游信息化管理和用户在线预订酒店的需求。
黄冈旅游景点服务网站的开发是以Java编程语言作为基础,在Myeclipse平台上完成编码工作,系统整体为B/S架构,数据库系统使用Mysql。文中详细分析了黄冈旅游景点服务网站的研究背景、研究目的和意义、开发工具和相关技术以及系统需求、系统详细设计和系统测试等等一系列内容。系统实现了黄冈旅游景点服务网站所需的一些基本功能,并通过测试对这些实现的功能进行了完善,进而提高了系统整体的实用性。整个系统的开发过程中大量使用了Java相关的知识以及前端开发使用的html和javascript等,同时涉及到了很多开源框架和组件,例如后台系统中运用的MVVM模式、Freemarker模板引擎等,前端运用的UI框架等。
系统投入运行时,各功能均运行正常。系统的每个界面的操作符合常规逻辑,对使用者来说操作简单,界面友好。整个系统的各个功能设计合理,体现了人性化。
但是由于自己在系统开发过程中对一些用到的相关知识和技术掌握不够牢固,再加上自身开发经验欠缺,因此系统在有些方面的功能还不够完善,考虑的不够全面,因此整个系统还有待日后逐步完善。
参考文献
[1]赵静.基于SSM+VUE框架的企业合规管理系统[J].数字通信世界,2022(11):17-19.
[2]李乐.Java语言应用研究[J].智慧中国,2022(09):80-81.
[3]张晨.基于Java Web的反序列化信息安全漏洞挖掘研究[J].成都航空职业技术学院学报,2022,38(03):50-53.
[4]唐小玲.基于SSM框架的资质管理系统开发解析[J].科学技术创新,2022(26):80-83.
[5]彭莉芬.大数据视域下Java集合应用研究[J].福建电脑,2022,38(09):55-58.DOI:10.16707/j.cnki.fjpc.2022.09.012.
[6]仓业金.基于Java的软件保护技术研究[J].电脑知识与技术,2022,18(23):29-30+52.DOI:10.14004/j.cnki.ckt.2022.1597.
[7]宋旸.使用Java语言开发Web应用软件的知识探讨[J].中国设备工程,2022(14):121-123.
[8]杨迎.Java技术在嵌入式系统中的作用探讨[J].无线互联科技,2022,19(14):96-98.
[9]吴拓.Java编程语言在计算机软件开发中的应用[J].无线互联科技,2022,19(12):35-37.
[10]王南.Java编程在计算机应用软件中的应用特征与技术研究[J].信息记录材料,2022,23(04):130-132.DOI:10.16009/j.cnki.cn13-1295/tq.2022.04.057.
[11]杨迎.Java语言异常处理机制的分析[J].电子技术,2022,51(03):42-43.
[12]周金玉.乡村振兴背景下广州市乡村旅游电子商务创新发展研究[J].西部旅游,2022(02):20-22.
[13]张烈超,胡迎九.典型Java Web开发框架模型的研究[J].武汉交通职业学院学报,2021,23(04):122-127.
[14]许跃颖.基于敏捷开发的SSM Web应用开发措施[J].电子制作,2021(16):45-46+22.DOI:10.16589/j.cnki.cn11-3571/tn.2021.16.016.
[15]曹华山.SSM框架在Web应用开发中的设计与实现[J].无线互联科技,2021,18(11):108-109.
[16]Merle Didier,Landau Bernard. Review of the paleobiogeography of Eofavartia Merle, 2002 (Gastropoda: Muricidae) with the description of a new species from the Miocene of Java (Indonesia)[J]. Annales de Paléontologie,2020,106(prepublish).
[17]Yoshiki Higo,Shinpei Hayashi,Shinji Kusumoto. On tracking Java methods with Git mechanisms[J]. The Journal of Systems & Software,2020,165(prepublish).
[18]潘云天,肖飞.交际翻译理论指导下的国内旅游景点官方网站中英翻译研究——以南京牛首山官方网站英文版为例[J].英语广场,2020(16):37-41.DOI:10.16723/j.cnki.yygc.2020.16.010.
[19]白婕.中英网站英文旅游景点介绍的及物性对比[J].文教资料,2019(18):221-223.
[20]邢杰,张群,庄慧慧.粤港台旅游景点英汉双语网站对比分析[J].广东外语外贸大学学报,2017,28(06):57-64.
致谢
本次设计历时3个月。在这个毕业设计中,它离不开指导教师的指导,使事情基本顺利。指导老师无论是在毕业设计历经中,还是在论文做完中都给了了我特别大的助益。另1个方面,教师认真负责的工作姿态,谨慎的教学精神厚重的理论水准都使我获益匪浅。他勤恳谨慎的教学育人学习姿态也给我留下了特别特别深的感觉。我从老师那里学到了很多东西。在理论和实践中,我的技能得到了特别大的提高。在此,特向教师表示由衷的感激。
经过对该毕业设计的全部研究和开发,我的系统研发经历了从需求分析到实现详细功能,再到最终测试和维护的特殊进展。让我对系统研发有了更深层次的认识。如今我的动手本领单独处理疑惑的本领也获取到了特别大的演练学习增多,这是这次毕业设计最好的收获。
最后,在整个系统开发过程中,我周围的同学和朋友给了我很多意见,所以我很快就确认了系统的商业思想。在次,我由衷的向他们表示感激。
免费领取项目源码,请点赞❤️关注收藏并私信博主,谢谢!
免费领取项目源码,请点赞❤️关注收藏并私信博主,谢谢!
免费领取项目源码,请点赞❤️关注收藏并私信博主,谢谢!
更多推荐



所有评论(0)